|
Геометрическое тело 1,2,3 ЧЕРТЕЖ
|
|
| engineerklub | Дата: Вторник, 23.12.2025, 13:45 | Сообщение # 1 |
 Генералиссимус
Группа: Администраторы
Сообщений: 38755
Статус: Offline
| Геометрическое тело 1. Варинат 1 ЧЕРТЕЖ
 Задание 57
Выполнить в трех проекциях чертеж изображенных геометрических тел. Построить линии пересечения поверхностей этих тел и аксонометрическую проекцию.
Геометрическое тело 1. Варинат 1 СКАЧАТЬ
|
| |
|
|
| engineerklub | Дата: Вторник, 23.12.2025, 13:48 | Сообщение # 2 |
 Генералиссимус
Группа: Администраторы
Сообщений: 38755
Статус: Offline
| Геометрическое тело 2. Варинат 1 ЧЕРТЕЖ
 Выполнить в трех проекциях чертеж изображенных геометрических тел. Построить линии пересечения поверхностей этих тел и аксонометрическую проекцию.
Геометрическое тело 2. Варинат 1 СКАЧАТЬ
|
| |
|
|
| engineerklub | Дата: Вторник, 23.12.2025, 13:49 | Сообщение # 3 |
 Генералиссимус
Группа: Администраторы
Сообщений: 38755
Статус: Offline
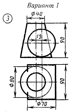
| Геометрическое тело 3. Варинат 1 ЧЕРТЕЖ
 Выполнить в трех проекциях чертеж изображенных геометрических тел. Построить линии пересечения поверхностей этих тел и аксонометрическую проекцию.
Геометрическое тело 3. Варинат 1 СКАЧАТЬ
|
| |
|
|
| engineerklub | Дата: Вторник, 23.12.2025, 13:52 | Сообщение # 4 |
 Генералиссимус
Группа: Администраторы
Сообщений: 38755
Статус: Offline
| Геометрическое тело 1. Варинат 2 ЧЕРТЕЖ
 Выполнить в трех проекциях чертеж изображенных геометрических тел. Построить линии пересечения поверхностей этих тел и аксонометрическую проекцию.
Геометрическое тело 1. Варинат 2 СКАЧАТЬ
|
| |
|
|
| engineerklub | Дата: Вторник, 23.12.2025, 13:53 | Сообщение # 5 |
 Генералиссимус
Группа: Администраторы
Сообщений: 38755
Статус: Offline
| Геометрическое тело 2. Варинат 2 ЧЕРТЕЖ
 Выполнить в трех проекциях чертеж изображенных геометрических тел. Построить линии пересечения поверхностей этих тел и аксонометрическую проекцию.
Геометрическое тело 2. Варинат 2 СКАЧАТЬ
|
| |
|
|
| engineerklub | Дата: Вторник, 23.12.2025, 13:56 | Сообщение # 6 |
 Генералиссимус
Группа: Администраторы
Сообщений: 38755
Статус: Offline
| Геометрическое тело 3. Варинат 2 ЧЕРТЕЖ
 Выполнить в трех проекциях чертеж изображенных геометрических тел. Построить линии пересечения поверхностей этих тел и аксонометрическую проекцию.
Геометрическое тело 3. Варинат 2 СКАЧАТЬ
|
| |
|
|
| engineerklub | Дата: Вторник, 23.12.2025, 13:58 | Сообщение # 7 |
 Генералиссимус
Группа: Администраторы
Сообщений: 38755
Статус: Offline
| Геометрическое тело 1. Варинат 3 ЧЕРТЕЖ
 Выполнить в трех проекциях чертеж изображенных геометрических тел. Построить линии пересечения поверхностей этих тел и аксонометрическую проекцию.
Геометрическое тело 1. Варинат 3 СКАЧАТЬ
|
| |
|
|
| engineerklub | Дата: Вторник, 23.12.2025, 14:04 | Сообщение # 8 |
 Генералиссимус
Группа: Администраторы
Сообщений: 38755
Статус: Offline
| Геометрическое тело 2. Варинат 3 ЧЕРТЕЖ
 Выполнить в трех проекциях чертеж изображенных геометрических тел. Построить линии пересечения поверхностей этих тел и аксонометрическую проекцию.
Геометрическое тело 2. Варинат 3 СКАЧАТЬ
|
| |
|
|
| engineerklub | Дата: Вторник, 23.12.2025, 14:05 | Сообщение # 9 |
 Генералиссимус
Группа: Администраторы
Сообщений: 38755
Статус: Offline
| Геометрическое тело 3. Варинат 3 ЧЕРТЕЖ
 Выполнить в трех проекциях чертеж изображенных геометрических тел. Построить линии пересечения поверхностей этих тел и аксонометрическую проекцию.
Геометрическое тело 3. Варинат 3 СКАЧАТЬ
|
| |
|
|
| engineerklub | Дата: Вторник, 23.12.2025, 14:07 | Сообщение # 10 |
 Генералиссимус
Группа: Администраторы
Сообщений: 38755
Статус: Offline
| Геометрическое тело 1. Варинат 4 ЧЕРТЕЖ
 Выполнить в трех проекциях чертеж изображенных геометрических тел. Построить линии пересечения поверхностей этих тел и аксонометрическую проекцию.
Геометрическое тело 1. Варинат 4 СКАЧАТЬ
|
| |
|
|
| engineerklub | Дата: Вторник, 23.12.2025, 14:08 | Сообщение # 11 |
 Генералиссимус
Группа: Администраторы
Сообщений: 38755
Статус: Offline
| Геометрическое тело 2. Варинат 4 ЧЕРТЕЖ
 Выполнить в трех проекциях чертеж изображенных геометрических тел. Построить линии пересечения поверхностей этих тел и аксонометрическую проекцию.
Геометрическое тело 2. Варинат 4 СКАЧАТЬ
|
| |
|
|
| engineerklub | Дата: Вторник, 23.12.2025, 14:09 | Сообщение # 12 |
 Генералиссимус
Группа: Администраторы
Сообщений: 38755
Статус: Offline
| Геометрическое тело 3. Варинат 4 ЧЕРТЕЖ
 Выполнить в трех проекциях чертеж изображенных геометрических тел. Построить линии пересечения поверхностей этих тел и аксонометрическую проекцию.
Геометрическое тело 3. Варинат 4 СКАЧАТЬ
|
| |
|
|
| engineerklub | Дата: Вторник, 23.12.2025, 14:11 | Сообщение # 13 |
 Генералиссимус
Группа: Администраторы
Сообщений: 38755
Статус: Offline
| Геометрическое тело 1. Варинат 5 ЧЕРТЕЖ
 Выполнить в трех проекциях чертеж изображенных геометрических тел. Построить линии пересечения поверхностей этих тел и аксонометрическую проекцию.
Геометрическое тело 1. Варинат 5 СКАЧАТЬ
|
| |
|
|
| engineerklub | Дата: Вторник, 23.12.2025, 14:11 | Сообщение # 14 |
 Генералиссимус
Группа: Администраторы
Сообщений: 38755
Статус: Offline
| Геометрическое тело 2. Варинат 5 ЧЕРТЕЖ
 Выполнить в трех проекциях чертеж изображенных геометрических тел. Построить линии пересечения поверхностей этих тел и аксонометрическую проекцию.
Геометрическое тело 2. Варинат 5 СКАЧАТЬ
|
| |
|
|
| engineerklub | Дата: Вторник, 23.12.2025, 14:12 | Сообщение # 15 |
 Генералиссимус
Группа: Администраторы
Сообщений: 38755
Статус: Offline
| Геометрическое тело 3. Варинат 5 ЧЕРТЕЖ
 Выполнить в трех проекциях чертеж изображенных геометрических тел. Построить линии пересечения поверхностей этих тел и аксонометрическую проекцию.
Геометрическое тело 3. Варинат 5 СКАЧАТЬ
|
| |
|
|